行业新闻
-
柱面镜在现代光电产品中的应用与发展
柱面镜主要应用于改变成像尺寸大小的设计要求。例如把一个点光斑转换成一条线斑,或者在不改变想宽度的情况下改变像的高度。柱面镜特的光学性能,柱面镜随着高科技的迅猛发展,其利用也越来越广泛。 -
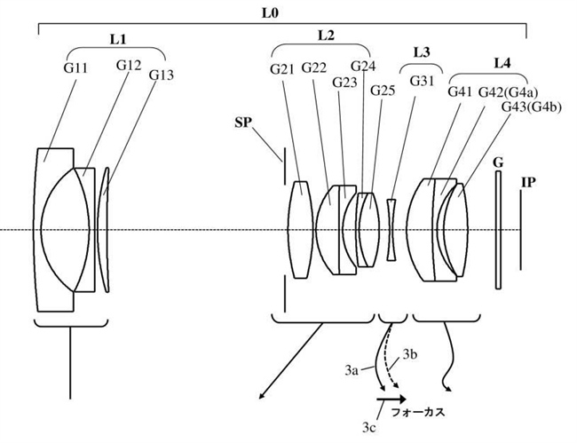
佳能专利申请:各种镜片…微型四分之三传感器尺寸?
镜头镜片, -
光学镜头技术定优势 终端应用产品形式多样化
光学镜头通常由镜片、精密五金、塑胶零件、快门/光圈、马达、传感器以及镜筒所组成。
电话号码:+86(0)21-58930039 手机:+86-13331908179 电子邮件:sales@mapoptics.com
Date: 2019-07-31 | Category: 行业新闻
Date: 2019-07-26 | Category: 行业新闻
Date: 2019-07-17 | Category: 行业新闻
版权所有 © 2013-2019 3499拉斯维加斯光电 沪ICP备50222993号-1